Viçosa, Brazil
Universidade Federal de Viçosa

Maize pachytene chromosome images straighten through use of digital software

-- Carvalho, CR and Saraiva, LS

The study of meiotic chromosomes of maize (Zea mays L.) in the pachytene stage has provided a great deal of information and allowed cytogeneticists to clarify many of the main genetic mechanisms. However, the benefits of long morphology also have created problems in analysis due to the sinuosity and overlapping in this meiotic stage. With the advances in the development of digital tools for systems of image analysis associated with cytogenetics, the morphology of the chromosomes has been more accurately resolved.

The objective of the present paper was to utilize a digital tool with an algorithm of linearity of curvilinear structure to improve the study of maize pachytene chromosomes. Each bivalent was straightened and arranged as a karyogram. Spikes previously selected in the pachytene stage were fixed in a fresh methanol-acetic acid (3:1) solution and stored at −20 °C. The anthers were mechanically macerated with a mini-mixer and the pollen grain mother cells (PMC) recovered after being filtered in a nylon mesh (100 μm pore). PMCs were macerated in 10 μL enzymatic solution (Flaxzyme™) plus 140 μL distilled water at 35 °C for 60 minutes. After washing in 0.075 M KCl solution and centrifuging, the PMCs were fixed again. A cell dissociation technique, dripping of the suspension and air-drying (Caixeta and Carvalho, Cytologia, 66:173–176, 2001), was utilized for slide preparations. The material was stained with 3% Giemsa solution.

The pachytene images were captured with an immersion objective (100 ×) and with a video camera (CCD) attached to an Olympus™ BX 60 and digitalized in a Macintosh™ (G4) computer. The images of each bivalent were individualized at pachytene using the software SXM-Image (Barrett and Carvalho, Chromosome Research, 11:83–88, 2003) for application of the digital straightening tool for curvilinear objects.

The chromosomes at pachytene (Figure 1) were considered adequate to test the tool for straightening curved objects. Figure 2 shows the pachytene chromosomes straightened with the use of the digital tool with an algorithm for the straightening of sinuous structures. It can be observed in this figure that after application of the straightening tool the chromosomes did not lose their longitudinal pattern and the original morphology.

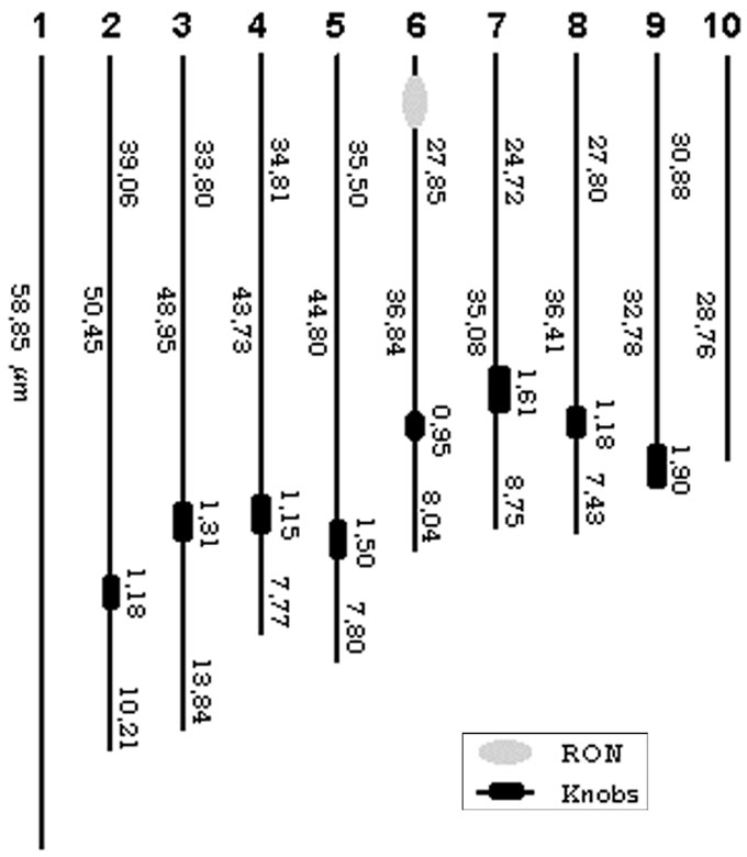
This tool also allowed idiogram assemblage of pachytene chromosomes straightened (Figure 3). This idiogram represents the 10 bivalents at pachytene, emphasizing the knob regions, the nucleolus organizer region (NOR) on bivalent number 6 and the linear arrangement of the chromomeres. This methodology was adequate for application in meiotic karyogram assemblages in routine, as well as in comparative, analyses of structural variations, chromomeric mapping and banding pattern among bivalents. This work was supportated by a grant from the FAPEMIG, CNPq, Brazil

 

Figure 1. Maize pachytene chromosome obtained by air-drying technique with enzymatic maceration and stained with Giemsa solution. Bar = 5 μm.

Figure 2. Maize karyogram of pachytene chromosomes isolated by digital process (from figure 1), showing original shape (left) and after application of the straightening tool (right). The black spots correspond to the overlapping chromosome regions. Bar = 5 μm.

Figure 3. Idiogram of the 10 bivalents containing measures and some specific features of each straightened chromosome. NOR = nucleolus organizer region.